產品列表
拉斷閥
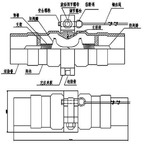
拉斷閥是用于槽罐車與儲罐中間的傳輸設備,拉斷閥主要作用是防止操作員操作失誤的緊急情況,拉斷閥實現自動快速拉斷,自動密封管道,保證人員以及生產安全。
總體由兩個單向閥、夾緊機構、拉斷機構三部分組成,該緊急脫離裝置的切斷閥主體為采用彈簧力關閉的單向閥,其拉斷力來自于機械部分本身,無須電、液等其它動力,加裝該裝置的裝卸臂具備了緊急拉斷功能,拉斷閥安裝后應無泄漏,出現緊急情況受力超過直線拉斷力數值后,拉斷螺栓應拉出閥體,閥體分解成兩個單向閥,斷開管線應無泄漏,拉斷閥拉斷采用拉斷銷式拉斷,拉斷銷受力超過預定極限范圍,拉斷閥自動緊急斷開,實現分離,兩端單向閥關閉各自管線中的介質。
產品介紹:
拉斷閥型號:HZ型、HZLD型、HZLDF型、HZLDL型。
拉斷閥規格尺寸:1寸(DN25氣相)、2寸(DN50液相)。
拉斷閥制作工藝:不銹鋼精鑄。
拉斷閥產品材質:不銹鋼304。
拉斷閥密封材質:氟橡膠、聚四氟乙烯。
拉斷閥連接形式:內螺紋、法蘭、焊接。
拉斷閥安裝方式:與鶴管臂、槽罐車、金屬軟管等管道。
拉斷閥壓力范圍:0-4.0Mpa。
拉斷閥試用介質:液化氣、天然氣、液化石油氣、甲、乙、丙烷、丁烷、丙、丁烯等易燃易爆氣體,液氨、液氮、液氧等低溫流體,環氧乙烷等腐蝕性流體。
拉斷閥應用范圍:易燃易爆氣體、有毒腐蝕性流體、槽罐車卸車、鶴管氣相液相管道等。
聯系方式
聯系人:張經理
手 機:13806329543
電 話:0632-5818855
傳 真:0632-5866008
Q Q:596798167
公司郵箱:hzjxzz@163.com
公司網址:http://www.nbcxhy.cn
公司地址:山東省滕州市經濟開發區
掃描下方二維碼加微信






