法蘭鶴管拉斷閥
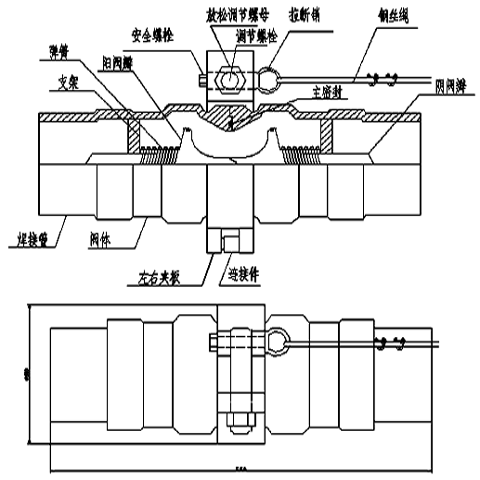
法蘭鶴管拉斷閥是用于液化氣、天然氣、液化石油的槽罐車、鶴管、不銹鋼軟管總成兩端與輸送管道相連接的法蘭拉斷閥,主要作用與防止卸車員操作失誤或槽罐車在與鶴管臂管道連接沒斷開時啟動等引起的緊急情況,實現自動快速拉斷,自動密封管道,保證人員以及生產安全。該緊急脫離裝置的切斷閥主體為采用彈簧力關閉的單向閥,其拉斷力來自于機械部分本身,無須電、液等其它動力,加裝該裝置的裝卸臂具備了緊急拉斷功能,法蘭鶴管拉斷閥安裝后應無泄漏,出現緊急情況受力超過直線拉斷力數值后,拉斷螺栓應拉出閥體,閥體分解成兩個單向閥,斷開管線應無泄漏,法蘭鶴管拉斷閥拉斷采用拉斷銷式拉斷,拉斷銷受力超過預定極限范圍,法蘭鶴管拉斷閥自動緊急斷開,實現分離,兩端單向閥關閉各自管線中的介質。
拉斷閥型號:HZ型、HZLD型、HZLDF型。
拉斷閥規格尺寸:1寸(DN25氣相)、2寸(DN50液相)。
拉斷閥制作工藝:不銹鋼精鑄。
拉斷閥產品材質:不銹鋼304。
拉斷閥密封材質:氟橡膠、聚四氟乙烯。
拉斷閥連接形式:內螺紋、法蘭、焊接。
拉斷閥安裝方式:與鶴管臂、槽罐車、金屬軟管等管道。
拉斷閥壓力范圍:0-4.0Mpa。
拉斷閥試用介質:液化氣、天然氣、液化石油氣、甲烷、乙、丙、丁烷、丙烯、丁烯等易燃易爆氣體,液氨、液氮、液氧等低溫流體,環氧乙烷等腐蝕性流體。
拉斷閥應用范圍:易燃易爆氣體、有毒腐蝕性流體、槽罐車卸車、鶴管氣相液相管道等。
聯系人:張經理
手 機:13806329543
電 話:0632-5818855
傳 真:0632-5866008
Q Q:596798167
公司郵箱:hzjxzz@163.com
公司網址:http://www.nbcxhy.cn
公司地址:山東省滕州市經濟開發區
掃描下方二維碼加微信






